¸ñÂ÷ ÆäÀÌÁö·Î µ¹¾Æ°¡±â

µå¶óÀ̺긦 ¼öÁ÷À¸·Î ¼³Ä¡Çϱâ


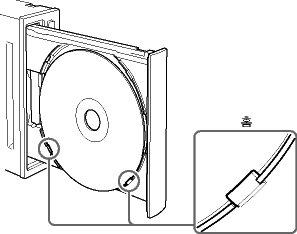
µð½ºÅ©¸¦ µð½ºÅ© Æ®·¹ÀÌ ¹Ù´ÚÀÇ È¨¿¡ ¼¼Æ®ÇÕ´Ï´Ù.



¸ñÂ÷ ÆäÀÌÁö·Î µ¹¾Æ°¡±â