返回目录页

垂直使用驱动器


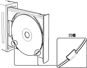
把光碟放置在光碟托架底部的凹槽中。



返回目录页